ARMCO BARRIERS Pty Ltd

"Guardrail Manufacturer & Supplier"

sales@armcobarriers.com.au - Free Call 1800 808 619

Home ] Back ]

ARMCO® PIPEGARD

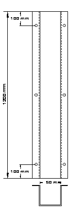
ARMCO® Pipegard is a protection barrier/shield for storm water or drainage pipes and other exposed pipe work in traffic areas. Using 6mm grade 250 steel, ensures that Armco® Pipegard actually protects as well as provides a visual deterrence and related Occupational Health & Safety  protection. 

Armco® Pipegard is available in the following standard sizes:

Part No.

 Description

XPG300

 1200mm long

XPG250

 1200mm long

XPG150

 1200mm long      

              

XPG300 shown

Armco® Barriers can provide customized Pipegard, specific to customer requirements.